Lempar Lembing adalah salah satu olahraga cabang atletik yaitu nomor lempar. Tujuan dari lempar lembing adalah berusaha melempar lembing sejauh-jauhnya dengan benar. Tehnik lempar Lembing terdiri dari ancang-ancang, irama lima langkah, melempar dan pemulihan, berikut penjelasannya.
Ancang-ancang
Ancang-ancang biasanya diawali dengan lari sebanyak 8-9 langkah dengan kecepatan lari terus ditambah atau semakin cepat.
Irama Lima Langkah
- Langkah 1 sampai 3 – Diawali dengan memegang lembing secara mendatar atau horisontal dan tangan di tekuk di atas bahu. Pada waktu mendarat pada kaki kanan gerakan lengan pelemar ke belakang setinggi bahu, telapak tangan pelempar menghadap ke atas. Pertahankan kecepatan lari ancang-ancang. Lembing dipegang dekat dengan kepala. Langkah ketiga berfungsi sebagai persiapan untuk melakukan langkah berikutnya yaitu langkah 4 dorong.
- Langkah 4 - pada fase ini adalah fase langkah dorong dengan langkah yang lebih panjang dan datar terjadi sesudah mendorongnya dengan kaki kiri. Kaki kanan mendahului kaki kiri dan sebelum mendarat kaki kiri ada didepan kaki kanan lagi.
- Langkah 5 - Kaki kiri mendarat pada tumit dantetap dipertahankan lurus kemudian lengan yang melempar tetap diluruskan pada setinggi bahu. Badan melengkung dengan penuh kekuatan dan kaki kiri diluruskan sepenuhnya. Melempar pada saat kaki depan diluruskan. Putar pinggang dengan cepat ke depan, usahakan lengan kiri berada di dekat badan. Tarik siku kanan ke depan dan atas disisi kepala.
Pemulihan
Bawa kaki kanan ke depan untuk mencegah membuat kesalahan lempar.
Ukuran Lembing
Berat lembing putra : 800 gram
Berat lembing putri : 600 gram
Panjang lembing putra: antara 260 cm
Panjang lembing putri: antara 220 cm
Cara Memegang
- Cara Finlandia - Pertama lembing diletakkan pada telapak tangan dengan ujung atau mata lembing serong hamper menuju arah badan. Kemudian jari tengah memegang tepian atau pangkal ujung dari tali bagian belakang (dilingkarkan, dibantu dengan ibu jari ndiletakkan pada tepi belakang dari pegangan dan pada badan lembing. Jari telunjuk harus lemas ke belakang membantu menahan badan lembing. Sedangkan jari-jari yang lainnya turut memegang lilitan pegangan di atasnya dalam keadaan lemas. Dengan cara Finlandia ini, jari tengah dan ibu jari yang memegang peranan penting untuk mendorong tali pegangan pada saat melempar
- Cara Amerika - Pertama lembing diletakkan pada telapak tangan, dengan ujung atau mata lembing serong hamper menuju kea rah badan. Kemudian jari telunjuk memegang tepian atau pangkal dari ujung tali bagian belakang lembing, dibantu dengan ibu jari diletakkan pada tepi belakang dari pegangan dan pada badan lembing serta dalam keadaan lurus. Sedangkan ketiga jari lainya berimpit dan renggang dengan jari telunjuk turut membantu dan menutupi lilitan tali lembing. Jadi dengan pegangan cara Amerika ini jari telunjuk dan ibu jari memegang peranan mendorong tali pegangan lembing pada saat melempar .
- Cara Menjepit - caranya hanya menjepitkan lembing diantara dua jari tengah dan jari telunjuk, sedangkan jari jari lainnya memmegang biasa.
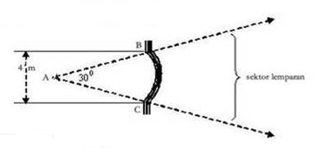
Keterangan :
- Lebar awalan 4 meter
- Panjang awalan 40 meter
- AC=BC= 8 meter
- Lebar garis lempar = 7 meter





07.53
Unknown

Posted in:

0 komentar:
Posting Komentar